Ingredientes de la máquina de bloques de ladrillos

Máquina dosificadora de la serie PLD


Para proyectos de construcción, carreteras y puentes


Ingredientes para la máquina de bloques de ladrillos modelo PLD800


Descarga central para condiciones húmedas


Pantalla abatible patentada (larga vida útil)


Descarga por cinta con pesaje preciso


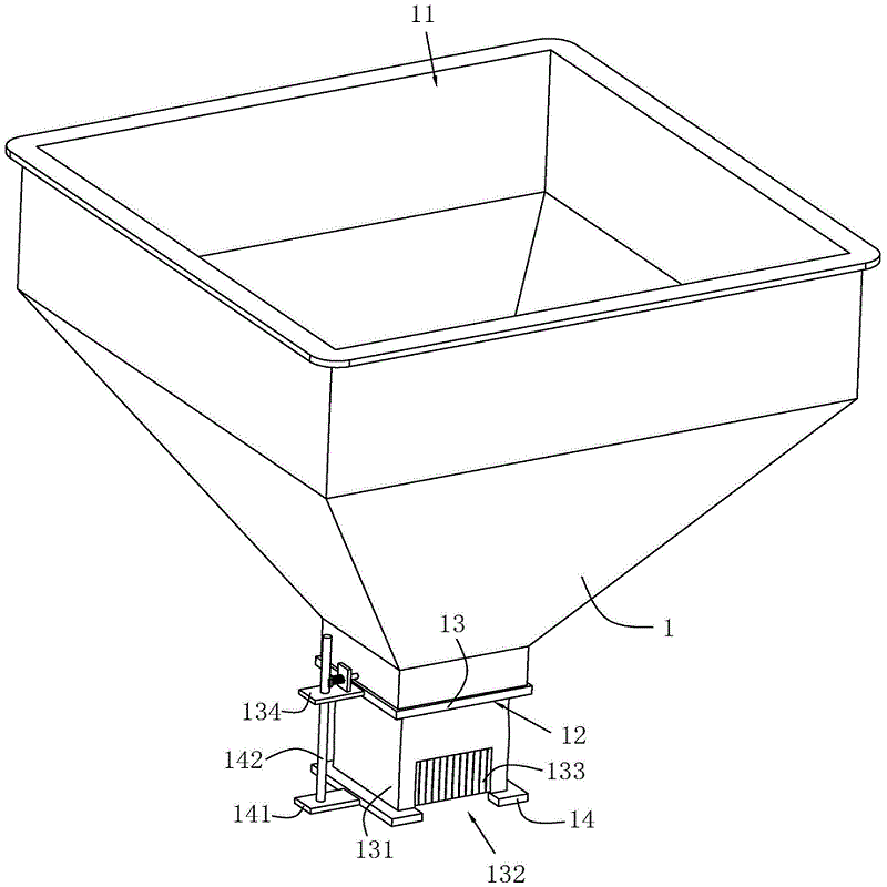
Detalles del producto

1. Gestión de silos de materias primas refinadas

Se emplea un diseño de almacenamiento compartimentado, con cada silo dedicado a una materia prima específica para evitar la contaminación cruzada entre diferentes materiales.

Se instala un dispositivo de control del nivel de material (como un medidor de nivel por radar) para controlar en tiempo real la materia prima restante en el silo, lo que garantiza una reposición oportuna y evita el sobrellenado.

Ingredientes de la máquina de bloques de ladrillos

2. Control cuantitativo de la alimentación

Cada salida del silo está equipada con un dispositivo de alimentación cuantitativa independiente (como un transportador de tornillo o una báscula de cinta) para lograr una dosificación precisa de una sola materia prima.

Un sistema de control de lazo cerrado utiliza una celda de carga para proporcionar información sobre la cantidad real de alimentación. La velocidad del dispositivo se ajusta automáticamente tras la comparación con el valor establecido, garantizando un error de relación dentro de ±0,5 %.

3. Transporte de áridos multimateriales

Las materias primas procedentes de cada dosificador se transportan al equipo de mezcla mediante una cinta convergente o un transportador de rascadores. Durante el proceso de transporte se mantiene una velocidad uniforme para evitar la acumulación o rotura del material.

Número de serie

nombre

Especificación

cantidad

unidad

1

PLD1200

Almacén de almacenamiento de materias primas

4 m³

2

individual

Pantalla temblorosa

2800*2500

1

individual

contenedor de pesaje

0,8 m²

1

individual

sensor

ZMLBF-1000

3

individual

Motor

2,2 kW

2

torre

Motor agitador de pedregal

2,2 kW

1

torre

Cinta transportadora

B500

3

banda

Marco

Estructura de acero

1

colocar


Deja tus mensajes

Productos relacionados

x

Productos populares

x
x